Las pruebas físicas para mujeres que desean ingresar a la Guardia Civil son 4, igual que para los hombres. La diferencia radica en el tiempo mínimo en completar los ejercicios. En nuestra academia online de oposiciones a Guardia Civil hablamos detalladamente de este tema.
Clasificación de las cuatro pruebas principales
- Prueba de resistencia: Recorrer 2.000 metros lisos, mínimo en el tiempo estimado según la edad.
- Prueba de potencia tren superior: Realizar al menos 11 flexiones de brazos.
- Prueba de soltura acuática: Completar 50 metros a estilo libre dentro del tiempo requerido según la edad.
- Prueba de agilidad y coordinación: Completar el circuito dentro del tiempo requerido según la edad. Disponen de 2 intentos.
Detalles de las pruebas físicas a realizar en las oposiciones
Las oposiciones a Guardia Civil requieren superar distintas pruebas físicas. A continuación, se desglosan las principales pruebas a las que se enfrentarán las aspirantes, sus tiempos y características.
Carrera de 2000 metros
Esta prueba es fundamental para evaluar la resistencia física de las aspirantes. El ejercicio consiste en recorrer 2.000 metros (2km) antes del tiempo estimado.
- Menores de 35 años: 11 minutos y 14 segundos.
- Entre 35 a 40 años: 11 minutos y 35 segundos.
- Mayores de 40 años: 12 minutos y 49 segundos.
<<Estas son las pruebas físicas de Guardia Civil para hombres>>
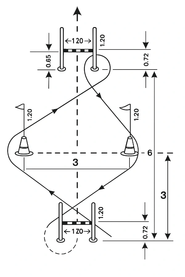
Circuito de agilidad y coordinación
Este circuito pone a prueba la destreza y la capacidad de reacción de las aspirantes a través de un recorrido con varios obstáculos.
Características del circuito y obstáculos
El circuito está estructurado con elementos tales como vallas, conos, y áreas de desplazamiento lateral.

Tiempo límite para mujeres según edad
- Mujeres menores de 35 años: 16,0 segundos
- Mujeres entre 35 y 39 años: 16,4 segundos
- Mujeres mayores de 40 años: 17,9 segundos
Extensiones de brazos (flexiones)
La prueba de flexiones se utiliza para medir la fuerza del tren superior de las aspirantes. Es un ejercicio que requiere resistencia y buena técnica para resultar efectivo en la evaluación.
Posición correcta: cabeza, hombros, espalda y piernas
Para realizar las flexiones correctamente, es crucial mantener una postura alineada. La cabeza debe estar en posición neutral, los hombros alineados con las muñecas, la espalda recta y las piernas extendidas. Esta alineación garantiza que el ejercicio se ejecute de forma segura y efectiva.

Número mínimo de flexiones exigidas para mujeres
Las mujeres deben realizar al menos 11 flexiones válidas para cumplir con los requisitos de esta prueba. Es importante asegurar que cada flexión se complete correctamente para que cuente en el total.
Natación – 50 metros estilo libre
El nado es otra de las pruebas que evalúan tanto la capacidad física como la técnica de las aspirantes. La prueba consiste en un recorrido de 50 metros

Tiempo límite para mujeres en la prueba de natación
El tiempo máximo permitido para completar esta prueba de natación es de 75 segundos para las mujeres.
Consejos de preparación física específica para las opositoras a Guardia Civil
La preparación física adecuada es esencial para cumplir los requisitos para ser Guardia Civil. Un enfoque sistemático hacia el entrenamiento ayuda a mejorar el rendimiento en las diversas pruebas exigidas en el proceso de selección.
Planificación del entrenamiento según pruebas
Un plan de entrenamiento bien estructurado es fundamental. Este requiere adaptaciones específicas para cada una de las pruebas a las que se enfrentan las aspirantes.
Entrenamiento para la carrera de resistencia
El entrenamiento debe centrarse en aumentar la resistencia aeróbica. Se recomienda realizar sesiones de carrera de media y larga distancia, incorporando intervalos que simulen la intensidad de la prueba. Correr en superficies variadas es útil para acostumbrar a las piernas a diferentes impactos.
Ejercicios para mejorar la agilidad y coordinación
Incluir ejercicios de agilidad, como saltos laterales y trabajo de escaleras, es esencial para optimizar la respuesta motora. Estos ejercicios no solo mejoran la velocidad, sino que también potencian el equilibrio y la coordinación, habilidades claves en el circuito de agilidad.
Técnicas de fortalecimiento para extensiones de brazos
Para fortalecer el tren superior, es recomendable realizar ejercicios de fuerza como flexiones, press de banca y ejercicios con bandas elásticas. Esto permite no solo aumentar el número de repeticiones que se pueden realizar, sino también mejorar la técnica y la fuerza general hasta alcanzar las marcas requeridas.
Entrenamiento para la natación y soltura acuática
La natación es una competencia que requiere dominancia en el medio acuático. Los entrenamientos deben incluir diversas técnicas de nado, especialmente el estilo libre. Practicar distancias mayores a los 50 metros y realizar ejercicios de respiración son claves para aumentar la confianza en el agua.